2020-09-01 |
技术交流
排气阀系列:微量排气阀,自动排气,复合式排气阀
APVX微量排气阀:

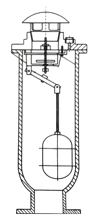
APVX微量排气阀结构示意图:

APVX微量排气阀零件材料:
| 名称 | 阀盖 | 阀座 | 杆架 | 杠杆 |
| 材质 | 球墨铸铁 | 304不锈钢 | 304不锈钢 | 304不锈钢 |
| 名称 | 塞头 | 浮球 | 阀体 | 螺栓 |
| 材质 | 合成橡胶 BUNA-N,VITON |
304不锈钢 | 球墨铸铁 | 镀锌钢制 |
APVX微量排气阀外形尺寸:
| 公称通径DN | 15 | 50 | 25 |
| 进口尺寸 | 1/2"(15m/m) | 3/4"(20m/m) | 1"(25m/m) |
| 出口尺寸 | 1/4" | 1/4" | 1/4" |
| 排气孔尺寸(mm) | 1.6 | 1.6 | 1.6 |
| 外型尺寸 长*宽*高(mm) |
102*86*127 | 102*86*127 | 102*86*127 |
AVAX自动排气阀:

AVAX自动排气阀结构示意图:

AVAX自动排气阀外形尺寸:
| 阀门型号 | 公称通径DN | D | H | m |
| AVAX-0010 | 10 | 47 | 113 | 3/8" |
| AVAX-0015 | 15 | 47 | 113 | 1/2" |
| AVAX-0020 | 20 | 47 | 113 | 3/4" |
| AVAX-0025 | 25 | 47 | 113 | 1" |
CARX复合式排气阀:

CARX复合式排气阀结构示意图:


CARX复合式排气阀技术参数:
| 阀门型号 | 试验压力(MPa) | 公称通径DN(mm) | 连接形式 | 公称压力PN(MPa) | |
| 壳体试验压力 | 密封试验压力 | ||||
| CARX-10 | 1.5 | 1.1 | 25-32 | 内螺纹 | 1.0 |
| 50-200 | 法兰 | 1.6 | |||
CARX复合式排气阀零件材质:
| 零件 | 阀体 | 阀盖 | 浮球 | 杠杆架 | 杠杆 | 塞头 |
| 材料 | 球墨铸铁 | 球墨铸铁 | 不锈钢 | 不锈钢 | 铝青铜 | 铝青铜 |
CARX复合式排气阀外形尺寸:
| 公称通径DN(mm) | 尺寸(mm) | ||||
| L | L1 | H | Z | D | |
| 25 | 280 | 176 | 330 | – | – |
| 32 | 280 | 176 | 330 | – | – |
| 50 | 360 | 208 | 475 | 4 | 17.5 |
| 65 | 360 | 208 | 475 | 4 | 17.5 |
| 80 | 400 | 244 | 552 | 8 | 17.5 |
| 100 | 465 | 275 | 623 | 8 | 17.5 |
| 150 | 537 | 332 | 686 | 8 | 22 |
| 200 | 537 | 332 | 6869 | 8/12 | 22 |
SCAR污水复合式排气阀:

SCAR污水复合式排气阀零件材质:
| 零件 | 材质 |
| 杠杆B | 不锈钢 |
| 活塞 | 铝青铜 |
| 顶塞 | 铝青铜+橡胶 |
| 杠杆A | 不锈钢 |
| 垫圈环 | 合成橡胶BUNA-N |
| 导套 | 铝青铜 |
| 杠杆架 | 不锈钢 |
| 浮球 | 不锈钢 |
| 阀盖 | 灰铸铁 |
| 阀体 | 灰铸铁 |
| 排气帽 | 灰铸铁 |
SCAR污水复合式排气阀外形尺寸:
| 连接方式 | 公称通径DN | D | D1 | dn/G | N孔数 | H |
| 管螺纹 | 50 | – | – | ZG1" | – | 567 |
| 80 | – | – | ZG2" | – | 626 | |
| 法兰 | 100 | 280 | 180 | 17.5 | 8 | 760 |
| 150 | 356 | 240 | 22 | 8 | 900 | |
| 200 | 430 | 295 | 22 | 8 | 1000 | |
| 250 | 500 | 350 | 22 | 12 | 1350 |