2020-09-18 |
阀门大全
ZAZQ ZAZX电动三通调节阀
ZAZQ(X) 电动三通调节阀阀概述
ZAZQ(X)型电动三通合流(分流)调节阀有合流和分流二种型式,由DKZ电动执行机构和三通合流或三通分流调节组成,以电源为动力,接受统一的标准信号0~10mA DC或4-20mA Dc驱使阀门开度与此操作信号相对应。合流阀的作用是将一种流体分成两路流体。分流合流阀只能对应选用,但当DN≤80时,合流阀可用于分流场合。可替代两台单、双座调节阀,节省投资,占据空间小。三通调节阀通常用于热交换器的两种介质调节,及简单的配比调节。
电动三通调节阀主要技术参数
| 公称通径mm | 合流 | 25 | 32 | 40 | 50 | 65 | 80 | 100 | 125 | 150 | 200 | 250 | 300 |
| 分流 | 80 | 100 | 125 | 150 | 200 | 250 | 300 | ||||||
| 额定流量系数Kv | 合流 | 8.5 | 13 | 21 | 34 | 52 | 85 | 135 | 210 | 340 | 535 | 800 | 1260 |
| 分流 | 85 | 135 | 210 | 340 | 535 | 800 | 1260 | ||||||
| 公称压力 MPa | 1.6 4.0 6.0 | ||||||||||||
| 流量特性 | 直线 | ||||||||||||
| 执 行 机 构 |
Ⅱ型 | DKZ-310 | DKZ-310 | DKZ-410 | DKZ-510 | DKZ-510 | |||||||
| Ⅲ型 | DKZ-510C | DKZ-310C | DKZ-410C | DKZ-510C | DKZ-510C | ||||||||
| 出轴推力(N) | 4000 | 4000 | 6400 | 16000 | 16000 | ||||||||
| 行程mm | 16 | 25 | 40 | 60 | 100 | ||||||||
| 上阀盖型式 | 1.6 | 1.0 | 2.5 | 1.6 | 1.5 | 1.0 | 0.65 | 0.4 | 0.3 | 0.16 | 0.26 | 0.18 | |
| 允许压差(MPa) | 普通式(常温型),热片式(中温型) | ||||||||||||
| 介质温度℃ | -40~230℃(常温型),散热片式230~450℃(中温型),特殊订货-100~600℃ | ||||||||||||
| 可调比 | 30:1 | ||||||||||||
| 法兰标准 | 铸铁按JB78-59,铸钢按JB79-59 | ||||||||||||
| 输入阻抗 | Ⅱ型:200 Ⅲ型:250 | ||||||||||||
| 出厂状态 | 电开(对上阀座而言),如需电关,订货时应注明 | ||||||||||||
电动三通调节阀性能指标
|
项目
|
指标值
|
|
|
基本误差%
|
≤±3.5
|
|
|
回差%
|
≤2.5
|
|
|
死区%
|
≤3.0
|
|
|
始终点偏差%
|
电开、电关
|
±2.5
|
|
|
±2.5
|
|
|
允许泄量L/H
|
符合JB/T7387-94Ⅲ 级 小于阀的额定容量×10-3
|
|
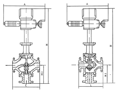
电动三通调节阀外形尺寸
|
|
| 电动三通合流调节阀 | 电动三通分流调节阀 |
| 公称 通径 DN |
A | L | H | H1 | |||||||||||
| 分流 | 合流 | PN1.6 | PN4.0 | PN6.4 | 分流 | 合流 | PN1.6 | PN4.0 | PN6.4 | PN1.6 | PN4.0 | PN6.4 | |||
| 普通型 | 热片型 | 普通型 | 热片型 | ||||||||||||
| 25 | 520 | 490 | 185 | 190 | 200 | 715 | 865 | 140 | 150 | 160 | |||||
| 32 | 520 | 490 | 200 | 210 | 210 | 721 | 871 | 150 | 160 | 170 | |||||
| 40 | 520 | 490 | 220 | 230 | 235 | 733 | 883 | 160 | 170 | 180 | |||||
| 50 | 520 | 490 | 250 | 255 | 265 | 748 | 898 | 180 | 190 | 200 | |||||
| 65 | 520 | 520 | 275 | 285 | 295 | 839 | 999 | 200 | 220 | 220 | |||||
| 80 | 520 | 520 | 305 | 310 | 320 | 872 | 1032 | 842 | 1002 | 225 | 250 | 265 | 210 | 230 | 240 |
| 100 | 520 | 520 | 350 | 355 | 370 | 896 | 1056 | 846 | 1006 | 245 | 275 | 285 | 220 | 250 | 260 |
| 125 | 520 | 520 | 410 | 425 | 440 | 947 | 1162 | 897 | 1112 | 284 | 320 | 325 | 260 | 300 | 300 |
| 150 | 520 | 520 | 450 | 460 | 475 | 947 | 1162 | 897 | 1112 | 305 | 340 | 340 | 280 | 320 | 320 |
| 200 | 520 | 520 | 550 | 560 | 570 | 965 | 1180 | 905 | 1120 | 350 | 400 | 410 | 320 | 380 | 380 |
| 250 | 520 | 520 | 670 | 740 | 750 | ||||||||||
| 300 | 520 | 520 | 770 | 805 | 820 | ||||||||||
电动三通调节阀订货须知
订货时请填写《规格书》或注明以下内容:
一、若订货前还未选定型号,请向我们提供您的使用参数:1.公称通径、额定流量系数KV,
2.流体性质(包括公称压力、温度、粘度或酸碱性),3.阀作用形式(电-关式或电-开式),4.流量特性,
5.阀前、阀后压力,6.阀体、阀芯材料,7.输入信号,8.是否带附件,说明附件型号。以便我们的为您正确选型。
二、若已经由设计单位选定我公司的产品型号,请按型号直接向我司销售部订购;
三、当使用的场合非常重要或管路比较复杂时,请您尽量提供设计图纸和详细参数,由我们的专家为您审核把关。