Blog

直接作用减压阀YZ11X,YG11X,YG41X

直接作用减压阀YZ11X,YG11X,YG41X

  直接作用减压阀连接形式一般有内螺纹和法兰连接这两种,公称压力有PN1.6MPa、PN2.5MPa,出口压力从0.05MPa到0.55MPa,公称通径从DN10mm到DN100mm,阀体材质一般采用青铜或者不锈钢,工作温度一般小于等于80℃。

  直接作用减压阀YZ11X,YG11X,YG41X

  直接作用减压阀常见型号有:YZ11X、YZ11X-16T、YZ11X-16P、YZ11X-25T、YZ11X-25P;YG11X、YG11X-16T、YG11X-16P、YG11X-25T、YG11X-25P;YG41X、YG41X-16T、YG41X-16P、YG41X-25T、YG41X-25P。

  YZ11X减压阀外形尺寸

公称通径 相关尺寸(mm)
mm in D H H1 L
15 1/2 73 75 31 77
20 3/4 73 75 31 77
25 1 85 90 43 85
32 1 1/4 105 117 44 105
40 1 1/2 120 136 56 120
50 2 140 162 60 140

  YG11X/YG41X减压阀外形尺寸

公称通径 相关尺寸(mm)
mm in D H H1 F
10 3/8 92 120 48
15 1/2 92 120 48
20 3/4 108 130 55
25 1 123 160 60
32 1 1/4 155 180 77 240
40 1 1/2 172 205 84 260
50 2 198 235 105 288
65 2 1/2 215 270 118 305
80 3 234 300 143 330
100 4 260 350 120 385

  注释:F是指法兰型结构长度(YG41X型减压阀);铸铁法兰连接尺寸按照GB 4216-84标准;铸钢法兰连接尺寸按照JB/T 79.1-1994标准。

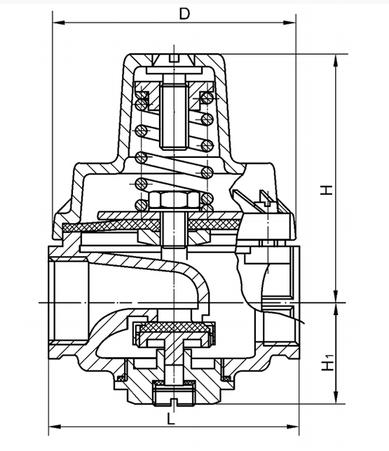
  直接作用减压阀结构示意图

  直接作用减压阀YZ11X,YG11X,YG41X