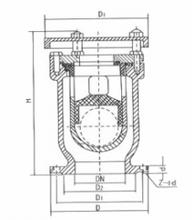
快速排(吸)气阀 P41X
管道在运转时,浮球停在球碗底部,进行大量排气,当管内空气排完,水冲进阀内,经过球碗然后反应浮球,使浮球浮动关闭,管道在正常运转时,如有少量气体会集中到阀内到相当程度,阀内水位下降,浮球随之下降,气体从小孔排出。如水泵停止,随时会产生负压力,浮球随时下降,进行大量吸气确保管路安全。
气动薄膜(活塞)切断阀 ZSQ型
切断阀接受来自调节仪表的信号,切断、开启或改变介质流向,达到对压力、流量、液位等工艺参数自动控制。广泛应用于石油、化工、冶金、电力、轻工、纺织等各种工业部门的生产过程自动控制和运程控制系统中。 本系列产品有薄膜式气动切断阀、活塞式气动切断阀两种。阀体结构有单座、套筒、双座(二位三通)三种,密封形式有填料密封和波纹管密封两种,产品公称压力等级有PN10、16、40、46四种,公称口径范围DN20~200mm。适用流体温度由-60~450℃。泄漏量等级为IV级或VI级。流量特性为快开。
水管阀门漏水维修,开关,图例,品牌
水管阀门是我们日常生活中经常能够看到和使用到的阀门,那如果水管阀门漏水怎么办呢?怎么去维修呢?水管阀门的开关方向又是怎么样的呢?水管阀门图例是怎么表示的呢?水管阀门又有哪些品牌呢?
阀门铸钢基体黄铜氧炔焰堆焊工艺
阀门铸钢基体黄铜氧炔焰堆焊工艺具体如下所示: 1、铸钢的堆焊表面应加工到▽3,如果在槽内堆焊,槽的棱角处应加工成圆角。槽的宽度和深度的比例,应以焊炬和焊丝能自由摆动和运条,并保证槽内的表面能均匀受热为准。
喷水减温系统功能、范围以及应用的主要阀门
喷水减温系统功能 锅炉运行中过热汽温和再热汽温再锅炉负荷、燃料性质、给水温度、炉膛过剩空气系数等因素变化时会产生波动。为防止汽温过高造成受热面管壁超温影响安全,或者汽温过低影响机组运行经济性,就需要有可靠的汽温调节手段。
流体的攻角对冲蚀率的影响
粒子入射轨迹与表面夹角有时也称为入射角。当粒子正面冲向靶面攻角为90°。大量实验结果表明,材料的冲蚀失重和粒子的攻角有密切关系。可以根据冲蚀率随攻角变化把材料的冲蚀破坏分为两类:即塑性材料(如退火钢、铝合金)和脆性材料(如陶瓷、玻璃)的冲蚀破坏。当粒子攻角为20°~30°时,典型的塑性材料冲蚀率达最大值,而脆性材料的最大冲蚀率出现在接近90°处。下图是金属铝及氧化铝受到SiC粒子冲击时冲蚀率随攻角变化的两类典型例子。